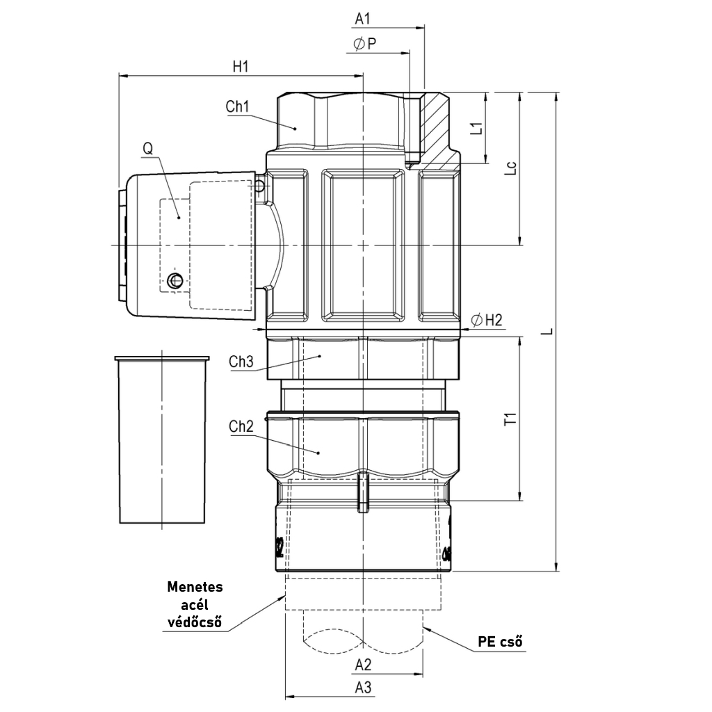
FŐ TULAJDONSÁGOK
Mérettartomány
3/4"–2"
Test és csapvég
Kovácsolt, nikkelezett CW617N sárgaréz az EN 12165 szabvány szerint
Golyó
Kemény krómbevonattal ellátott CW617N sárgaréz az EN 12165 szabvány szerint
Tömítés
Teflon (PTFE)
O-gyűrű
Gázra alkalmas viton
PE-tok O-gyűrű
Gázra alkalmas NBR
Plombálható sapka
Ütésálló polisztirol
Többi alkatrész
Európai szabvány szerinti sárgaréz
Menet
EN 10226-1 (ISO 7/1)
Megengedett üzemi hőmérséklet
-20 °C – +60 °C
Javasolt beépítés
https://interex-waga.hu/greiner-szereles
| Névleges átmérő | Tokméret | Cikkszám | Méretek (mm) | PN-MOP | Súly (kg) | |||||||||||||
| L | L1 | A1 | A2 | A3 | H1 | ØH2 | ØP | Lc | Ch1 | Ch2 | Ch3 | T1 | Q | |||||
| 3/4" | 25 | 080654849007500 | 112,1 | 13,3 | Rp3/4" | Ø25 | 1" | 61,5 | 42,5 | 20 | 34,25 | es.33 | ott.39 | ott.38.5 | 40 | 12x25 | MOP10 | 0,740 |
| 1" | 32 | 080654849010000 | 128,5 | 19,1 | Rp1" | Ø32 | 1.1/4" | 65,5 | 52 | 25 | 41 | es.41 | ott.48 | ott.48 | 44 | 12x25 | MOP10 | 1,150 |
| 1.1/4" | 40 | 080654849012500 | 144 | 21,4 | Rp1.1/4" | Ø40 | 1.1/2" | 75,5 | 63 | 32 | 46,5 | ott.50 | ott.55 | ott.58 | 52 | 12x25 | MOP10 | 1,660 |
| 1.1/2" | 50 | 080654849015000 | 172,5 | 21,4 | Rp1.1/2" | Ø50 | 2" | 82,8 | 77 | 40 | 52,5 | ott.56 | ott.71 | ott.67 | 62 | 12x25 | MOP10 | 2,530 |
| 2" | 63 | 080654849020000 | 202 | 25,7 | Rp2" | Ø50 | 2.1/2" | 97 | 93 | 50 | 62,5 | ott.70 | ott.88.5 | ott.84 | 77,5 | 16x30 | MOP10 | 4,060 |