FŐ TULAJDONSÁGOK
Közeg
Ivóvíz
Belépő nyomástartomány
1,5–10 bar
Beépítési helyzet
Vízszintes beépítés, az ürítőszelep lefelé néz
Maximális üzemi közeghőmérséklet
65 °C
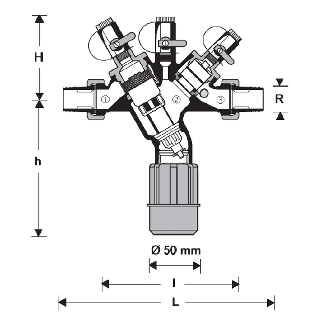
Ürítőcsonk mérete
Mérettartomány
½”–2”
Jellemzők
Anyagok
| Csatlakozó méret R | 1/2" | 3/4" | 1" | 1.1/4" | 1.1/2" | 2" |
| Súly kb. (kg) | 1,50 | 1,55 | 2,40 | 2,60 | 4,70 | 4,80 |
| Méretek (mm) L | 195 | 208 | 225 | 320 | 322 | 348 |
| I | 139 | 144 | 150 | 228 | 226 | 232 |
| H | 85 | 85 | 85 | 140 | 140 | 140 |
| h | 138 | 138 | 137 | 172 | 172 | 172 |