FŐ TULAJDONSÁGOK
Felhasználási terület
Víz
Mérettartomány
DN 50–200
Nyomásosztály
Termékjellemzők
Anyagok
Korrózióvédelem
Kívül-belül epoxibevonat a GSK szerint
Maximális üzemi közeghőmérséklet
50 °C
Működtetés
Elektromos hajtóművel is rendelhető
| PN 10 | |||||||
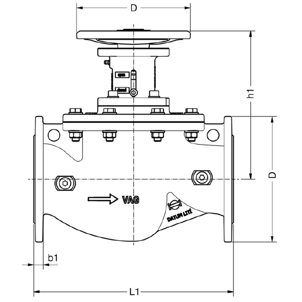
| DN | 200 | ||||||
| L1 | [mm] | 600 | |||||
| PN 16 | |||||||
| DN | 50 | 65 | 80 | 100 | 125 | 150 | |
| D | [mm] | 165 | 185 | 200 | 220 | 250 | 285 |
| k | [mm] | 125 | 145 | 160 | 180 | 210 | 240 |
| L1 | [mm] | 230 | 290 | 310 | 350 | 400 | 480 |
| b1 | [mm] | 19 | 19 | 19 | 19 | 19 | 19 |
| d2 | [mm] | 20 | 20 | 20 | 20 | 20 | 23 |
| e1 | [mm] | 80 | 105 | 105 | 125 | 125 | 182 |
| e2 | [mm] | 80 | 105 | 105 | 125 | 125 | 182 |
| h1 | [mm] | 220 | 260 | 250 | 260 | 270 | 392 |
| Furatok száma | [db] | 4 | 4 | 8 | 8 | 8 | 8 |
| Fordulatok száma (kézi működtetés) | [db] | 7,5 | 12,5 | 12,5 | 15 | 15 | 22,5 |
| Súly kézikerékkel kb. | [kg] | 18 | 27 | 30 | 35 | 39 | 71 |
| Térfogat kézikerékkel kb. | [m³] | 0,010 | 0,020 | 0,020 | 0,030 | 0,040 | 0,090 |
| PN 25 | |||||||
| DN | 50 | 65 | 80 | 100 | 125 | 150 | |
| D | [mm] | 165 | 185 | 200 | 235 | 270 | 300 |
| k | [mm] | 125 | 145 | 160 | 190 | 220 | 250 |
| L1 | [mm] | 230 | 290 | 310 | 350 | 400 | 480 |
| b1 | [mm] | 19 | 19 | 19 | 19 | 19 | 20 |
| d2 | [mm] | 20 | 20 | 20 | 23 | 28 | 28 |
| e1 | [mm] | 80 | 105 | 105 | 125 | 125 | 182 |
| e2 | [mm] | 80 | 105 | 105 | 125 | 125 | 182 |
| h1 | [mm] | 220 | 260 | 250 | 260 | 270 | 392 |
| Furatok száma | [db] | 4 | 8 | 8 | 8 | 8 | 8 |
| Fordulatok száma (kézi működtetés) | [db] | 7,5 | 12,5 | 12,5 | 15 | 15 | 22,5 |
| Súly kézikerékkel kb. | [kg] | 18 | 27 | 30 | 35 | 39 | 71 |
| Térfogat kézikerékkel kb. | [m³] | 0,010 | 0,020 | 0,020 | 0,030 | 0,040 | 0,090 |